Szukaj

Dane techniczne Mercedes Klasa S W222 Limuzyna wersja długa Facelifting AMG – wybierz silnik

Pokaż silniki:

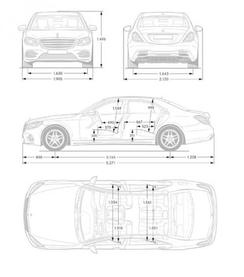
Szczegóły nadwozia

Podstawowe parametry

Liczba drzwi
4
Liczba miejsc
4
Średnica zawracania
12.3 m
Promień skrętu
6.2 m

Wymiary zewnętrzne

Długość
5271 mm
Szerokość
1905 mm
Szerokość z lusterkami bocznymi
2130 mm
Wysokość
1496 mm
Rozstaw osi
3165 mm
Rozstaw kół - przód
1630 mm
Rozstaw kół - tył
1643 mm
Zwis przedni
898 mm
Zwis tylny
1208 mm
Prześwit
144 mm
Długość z hakiem holowniczym
uzupełnij dane
pokaż więcej brakujących danych

Wymiary wewnętrzne

Odległość oparcia fotela przedniego od kierownicy
490 mm
Odległość od siedziska przedniego do dachu
1069 mm
Wysokość siedziska przedniego
309 mm
Długość siedziska przedniego
575 mm
Odległość pomiędzy siedzeniami przednimi i tylnymi
867 mm
Odległość od siedziska tylnego do dachu
995 mm
Odległość od podłogi do siedziska tylnego
351 mm
Długość siedziska tylnego
523 mm
Szerokość nad podłokietnikami z przodu
1554 mm
Szerokość nad podłokietnikami z tyłu
1561 mm
Szerokość na wysokości podłokietników z przodu
1516 mm
Szerokość na wysokości podłokietników z tyłu
1501 mm
Długość kolumny kierownicy
uzupełnij dane
pokaż więcej brakujących danych

Wymiary bagażnika

Maksymalna pojemność bagażnika (siedzenia złożone)
530 l
Minimalna pojemność bagażnika (siedzenia rozłożone)
530 l
Szerokość pomiędzy nadkolami
uzupełnij dane
pokaż więcej brakujących danych

Własności terenowe

Kąt natarcia
uzupełnij dane
pokaż więcej brakujących danych

Własności transportowe

Maksymalna ładowność
uzupełnij dane

Pozostałe parametry

Dopuszczalne obciążenie dachu
uzupełnij dane
pokaż więcej brakujących danych
Szkic techniczny
Szkic techniczny Mercedes Klasa S W222 Limuzyna wersja długa Facelifting AMG

Szczegóły silnika

Elektromobilność to obecnie jeden z głównych nurtów w rozwoju motoryzacji. Nic więc dziwnego, że praktycznie każdy z producentów chce mieć w swojej ofercie samochód elektryczny, a na rynku obserwujemy boom na elektryki.

Postanowiliśmy zatem przygotować specjalny dział poświęcony autom elektrycznym. Znajdziecie w nim informacje o zasięgach, ładowaniu i pojemnościach baterii, nasze testy samochodów elektrycznych, ciekawostki o nowych modelach aut na prąd, dopłatach do ich zakupu i nowych przepisach.
Mercedes Klasa S W222 Limuzyna wersja długa Facelifting AMG
Porównaj parametry
Mercedes Klasa S W222 Limuzyna wersja długa Facelifting AMG
Wybierz auta, które Cię interesują i sprawdź, jak różnią się ich parametry. Porównaj wymiary zewnętrzne, rozstaw osi, prześwit. Dowiedz się, ile miejsca jest wewnątrz i jak pojemny jest bagażnik. Możesz sprawdzić również parametry silnika i jego osiągi, rodzaj zawieszenia, napędu, hamulców, a nawet wymiary opon.
Chcesz sprawdzić, które auto w klasie średniej ma najniższe spalanie? A może jaki model w segmencie B ma największy prześwit? Albo który samochód sportowy najszybciej przyspiesza? Nasz ranking danych technicznych dostarczy Ci wszystkich potrzebnych informacji.

Dowiesz się, czy samochód, który wybrałeś, jest lepszy niż modele w ofercie konkurencji. Przekonasz się, czy w Twoim aucie jest więcej miejsca wewnątrz niż w innych samochodach z tego samego segmentu. Zobaczysz też, na którym miejscu w rankingu spalania jest model, który zamierasz kupić.
Mercedes Klasa S W222 Limuzyna wersja długa Facelifting AMG

Skonfiguruj idealną ofertę z super finansowaniem

Zobacz więcej filmów