Szukaj

Dane techniczne Mitsubishi Colt VII Hatchback 3d – wybierz silnik

Pokaż silniki:

Szczegóły nadwozia

Podstawowe parametry

Liczba drzwi
3
Liczba miejsc
5

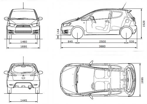
Wymiary zewnętrzne

Długość
3880 mm
Szerokość
1695 mm
Wysokość
1520 mm
Rozstaw osi
2500 mm
Rozstaw kół - przód
1460 mm
Rozstaw kół - tył
1445 mm
Zwis przedni
845 mm
Zwis tylny
535 mm
Prześwit
154 mm

Wymiary bagażnika

Minimalna pojemność bagażnika (siedzenia rozłożone)
169 l
Szkic techniczny
Szkic techniczny Mitsubishi Colt VII Hatchback 3d

Szczegóły silnika

Elektromobilność to obecnie jeden z głównych nurtów w rozwoju motoryzacji. Nic więc dziwnego, że praktycznie każdy z producentów chce mieć w swojej ofercie samochód elektryczny, a na rynku obserwujemy boom na elektryki.

Postanowiliśmy zatem przygotować specjalny dział poświęcony autom elektrycznym. Znajdziecie w nim informacje o zasięgach, ładowaniu i pojemnościach baterii, nasze testy samochodów elektrycznych, ciekawostki o nowych modelach aut na prąd, dopłatach do ich zakupu i nowych przepisach.
Mitsubishi Colt VII Hatchback 3d
Porównaj parametry
Mitsubishi Colt VII Hatchback 3d
Wybierz auta, które Cię interesują i sprawdź, jak różnią się ich parametry. Porównaj wymiary zewnętrzne, rozstaw osi, prześwit. Dowiedz się, ile miejsca jest wewnątrz i jak pojemny jest bagażnik. Możesz sprawdzić również parametry silnika i jego osiągi, rodzaj zawieszenia, napędu, hamulców, a nawet wymiary opon.
Chcesz sprawdzić, które auto w klasie średniej ma najniższe spalanie? A może jaki model w segmencie B ma największy prześwit? Albo który samochód sportowy najszybciej przyspiesza? Nasz ranking danych technicznych dostarczy Ci wszystkich potrzebnych informacji.

Dowiesz się, czy samochód, który wybrałeś, jest lepszy niż modele w ofercie konkurencji. Przekonasz się, czy w Twoim aucie jest więcej miejsca wewnątrz niż w innych samochodach z tego samego segmentu. Zobaczysz też, na którym miejscu w rankingu spalania jest model, który zamierasz kupić.
Mitsubishi Colt VII Hatchback 3d
Mitsubishi Colt VII Hatchback 3d

Skonfiguruj idealną ofertę z super finansowaniem

Zobacz więcej filmów