Szukaj

Szczegóły nadwozia

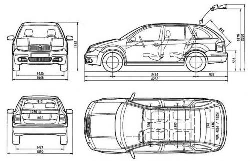
Podstawowe parametry

Liczba drzwi
5
Liczba miejsc
5

Wymiary zewnętrzne

Długość
4232 mm
Szerokość
1646 mm
Szerokość z lusterkami bocznymi
1890 mm
Wysokość
1452 mm
Wysokość z relingami dachowymi
1550 mm
Rozstaw osi
2462 mm
Rozstaw kół - przód
1435 mm
Rozstaw kół - tył
1424 mm
Zwis tylny
933 mm

Wymiary wewnętrzne

Szerokość nad podłokietnikami z przodu
1380 mm
Szerokość nad podłokietnikami z tyłu
1392 mm

Wymiary bagażnika

Maksymalna pojemność bagażnika (siedzenia złożone)
1225 l
Minimalna pojemność bagażnika (siedzenia rozłożone)
426 l
Szerokość pomiędzy nadkolami
974 mm
Szerokość bagażnika
1446 mm
Wysokość progu załadowczego
593 mm
Szkic techniczny
Szkic techniczny Skoda Fabia I Kombi

Szczegóły silnika

Elektromobilność to obecnie jeden z głównych nurtów w rozwoju motoryzacji. Nic więc dziwnego, że praktycznie każdy z producentów chce mieć w swojej ofercie samochód elektryczny, a na rynku obserwujemy boom na elektryki.

Postanowiliśmy zatem przygotować specjalny dział poświęcony autom elektrycznym. Znajdziecie w nim informacje o zasięgach, ładowaniu i pojemnościach baterii, nasze testy samochodów elektrycznych, ciekawostki o nowych modelach aut na prąd, dopłatach do ich zakupu i nowych przepisach.
Skoda Fabia I Kombi
Porównaj parametry
Skoda Fabia I Kombi
Wybierz auta, które Cię interesują i sprawdź, jak różnią się ich parametry. Porównaj wymiary zewnętrzne, rozstaw osi, prześwit. Dowiedz się, ile miejsca jest wewnątrz i jak pojemny jest bagażnik. Możesz sprawdzić również parametry silnika i jego osiągi, rodzaj zawieszenia, napędu, hamulców, a nawet wymiary opon.
Chcesz sprawdzić, które auto w klasie średniej ma najniższe spalanie? A może jaki model w segmencie B ma największy prześwit? Albo który samochód sportowy najszybciej przyspiesza? Nasz ranking danych technicznych dostarczy Ci wszystkich potrzebnych informacji.

Dowiesz się, czy samochód, który wybrałeś, jest lepszy niż modele w ofercie konkurencji. Przekonasz się, czy w Twoim aucie jest więcej miejsca wewnątrz niż w innych samochodach z tego samego segmentu. Zobaczysz też, na którym miejscu w rankingu spalania jest model, który zamierasz kupić.
Skoda Fabia I Kombi

Skonfiguruj idealną ofertę z super finansowaniem

Zobacz więcej filmów