Szukaj

Dane techniczne Suzuki SX4 I Hatchback – wybierz silnik

Pokaż silniki:

Szczegóły nadwozia

Podstawowe parametry

Liczba drzwi
5
Liczba miejsc
5

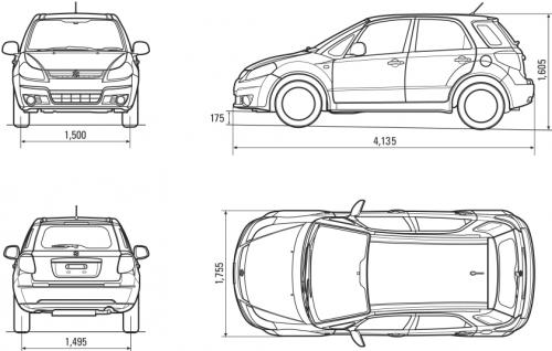
Wymiary zewnętrzne

Długość
4135 mm
Szerokość
1755 mm
Wysokość
1605 mm
Rozstaw osi
2500 mm
Rozstaw kół - przód
1500 mm
Rozstaw kół - tył
1495 mm
Prześwit
175 mm

Wymiary bagażnika

Maksymalna pojemność bagażnika (siedzenia złożone)
1045 l
Minimalna pojemność bagażnika (siedzenia rozłożone)
270 l
Szkic techniczny
Szkic techniczny Suzuki SX4 I Hatchback

Szczegóły silnika

Elektromobilność to obecnie jeden z głównych nurtów w rozwoju motoryzacji. Nic więc dziwnego, że praktycznie każdy z producentów chce mieć w swojej ofercie samochód elektryczny, a na rynku obserwujemy boom na elektryki.

Postanowiliśmy zatem przygotować specjalny dział poświęcony autom elektrycznym. Znajdziecie w nim informacje o zasięgach, ładowaniu i pojemnościach baterii, nasze testy samochodów elektrycznych, ciekawostki o nowych modelach aut na prąd, dopłatach do ich zakupu i nowych przepisach.
Suzuki SX4 I Hatchback
Porównaj parametry
Suzuki SX4 I Hatchback
Wybierz auta, które Cię interesują i sprawdź, jak różnią się ich parametry. Porównaj wymiary zewnętrzne, rozstaw osi, prześwit. Dowiedz się, ile miejsca jest wewnątrz i jak pojemny jest bagażnik. Możesz sprawdzić również parametry silnika i jego osiągi, rodzaj zawieszenia, napędu, hamulców, a nawet wymiary opon.
Chcesz sprawdzić, które auto w klasie średniej ma najniższe spalanie? A może jaki model w segmencie B ma największy prześwit? Albo który samochód sportowy najszybciej przyspiesza? Nasz ranking danych technicznych dostarczy Ci wszystkich potrzebnych informacji.

Dowiesz się, czy samochód, który wybrałeś, jest lepszy niż modele w ofercie konkurencji. Przekonasz się, czy w Twoim aucie jest więcej miejsca wewnątrz niż w innych samochodach z tego samego segmentu. Zobaczysz też, na którym miejscu w rankingu spalania jest model, który zamierasz kupić.
Suzuki SX4 I Hatchback
Suzuki SX4 I Hatchback

Skonfiguruj idealną ofertę z super finansowaniem

Zobacz więcej filmów