Szukaj

Szczegóły nadwozia

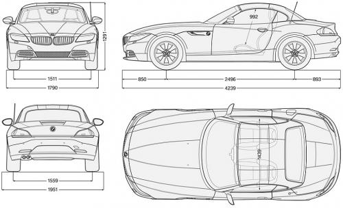
Podstawowe parametry

Liczba drzwi
2
Liczba miejsc
2
Średnica zawracania
uzupełnij dane
Promień skrętu
uzupełnij dane

Wymiary zewnętrzne

Długość
4239 mm
Szerokość
1790 mm
Szerokość z lusterkami bocznymi
1951 mm
Wysokość
1291 mm
Rozstaw osi
2496 mm
Rozstaw kół - przód
1511 mm
Rozstaw kół - tył
1559 mm
Zwis przedni
850 mm
Zwis tylny
893 mm
Długość z hakiem holowniczym
uzupełnij dane
pokaż więcej brakujących danych

Wymiary wewnętrzne

Odległość od siedziska przedniego do dachu
992 mm
Szerokość nad podłokietnikami z przodu
1439 mm
Odległość oparcia fotela przedniego od kierownicy
uzupełnij dane
pokaż więcej brakujących danych

Wymiary bagażnika

Maksymalna pojemność bagażnika (siedzenia złożone)
uzupełnij dane
pokaż więcej brakujących danych

Własności terenowe

Kąt natarcia
uzupełnij dane
pokaż więcej brakujących danych

Własności transportowe

Maksymalna ładowność
330 kg

Pozostałe parametry

Dopuszczalne obciążenie dachu
uzupełnij dane
pokaż więcej brakujących danych
Szkic techniczny
Szkic techniczny BMW Z4 E89 Roadster Facelifting

Szczegóły silnika

Elektromobilność to obecnie jeden z głównych nurtów w rozwoju motoryzacji. Nic więc dziwnego, że praktycznie każdy z producentów chce mieć w swojej ofercie samochód elektryczny, a na rynku obserwujemy boom na elektryki.

Postanowiliśmy zatem przygotować specjalny dział poświęcony autom elektrycznym. Znajdziecie w nim informacje o zasięgach, ładowaniu i pojemnościach baterii, nasze testy samochodów elektrycznych, ciekawostki o nowych modelach aut na prąd, dopłatach do ich zakupu i nowych przepisach.
BMW Z4 E89 Roadster Facelifting
Porównaj parametry
BMW Z4 E89 Roadster Facelifting
Wybierz auta, które Cię interesują i sprawdź, jak różnią się ich parametry. Porównaj wymiary zewnętrzne, rozstaw osi, prześwit. Dowiedz się, ile miejsca jest wewnątrz i jak pojemny jest bagażnik. Możesz sprawdzić również parametry silnika i jego osiągi, rodzaj zawieszenia, napędu, hamulców, a nawet wymiary opon.
Chcesz sprawdzić, które auto w klasie średniej ma najniższe spalanie? A może jaki model w segmencie B ma największy prześwit? Albo który samochód sportowy najszybciej przyspiesza? Nasz ranking danych technicznych dostarczy Ci wszystkich potrzebnych informacji.

Dowiesz się, czy samochód, który wybrałeś, jest lepszy niż modele w ofercie konkurencji. Przekonasz się, czy w Twoim aucie jest więcej miejsca wewnątrz niż w innych samochodach z tego samego segmentu. Zobaczysz też, na którym miejscu w rankingu spalania jest model, który zamierasz kupić.
BMW Z4 E89 Roadster Facelifting
BMW Z4 E89 Roadster Facelifting

Skonfiguruj idealną ofertę z super finansowaniem

Zobacz więcej filmów