Hyundai pracuje nad ... składanym autem
Dział badawczo-rozwojowy Hyundaia prowadzi intensywne prace nad składanym modelem. I nie chodzi tu wcale o dziecięcą zabawkę...
Jak się okazuje, inżynierowie Hyundaia w ostatnich miesiącach poza pracami nad potrójnie ekologicznym modelem Ioniq (model ten będzie oferowany w trzech ekologicznych wersjach - elektrycznej, hybrydowej oraz hybrydowej typu plug-in), znaleźli jeszcze trochę czasu, by stworzyć bardzo nietypowy model.
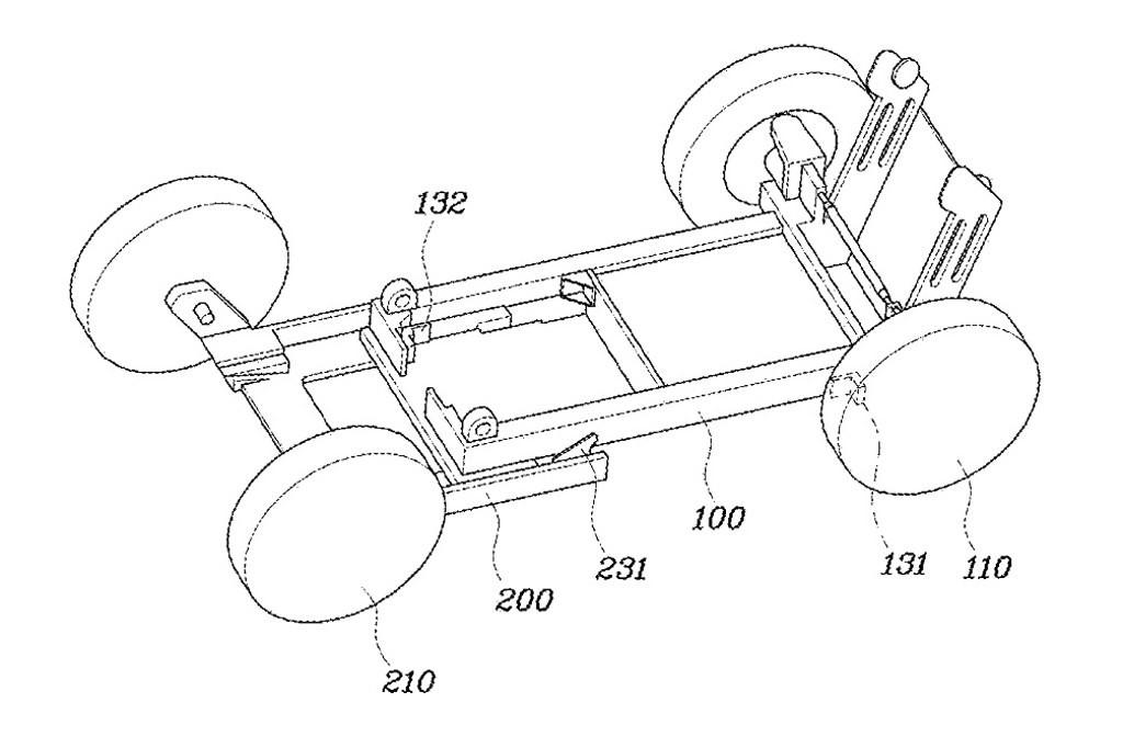
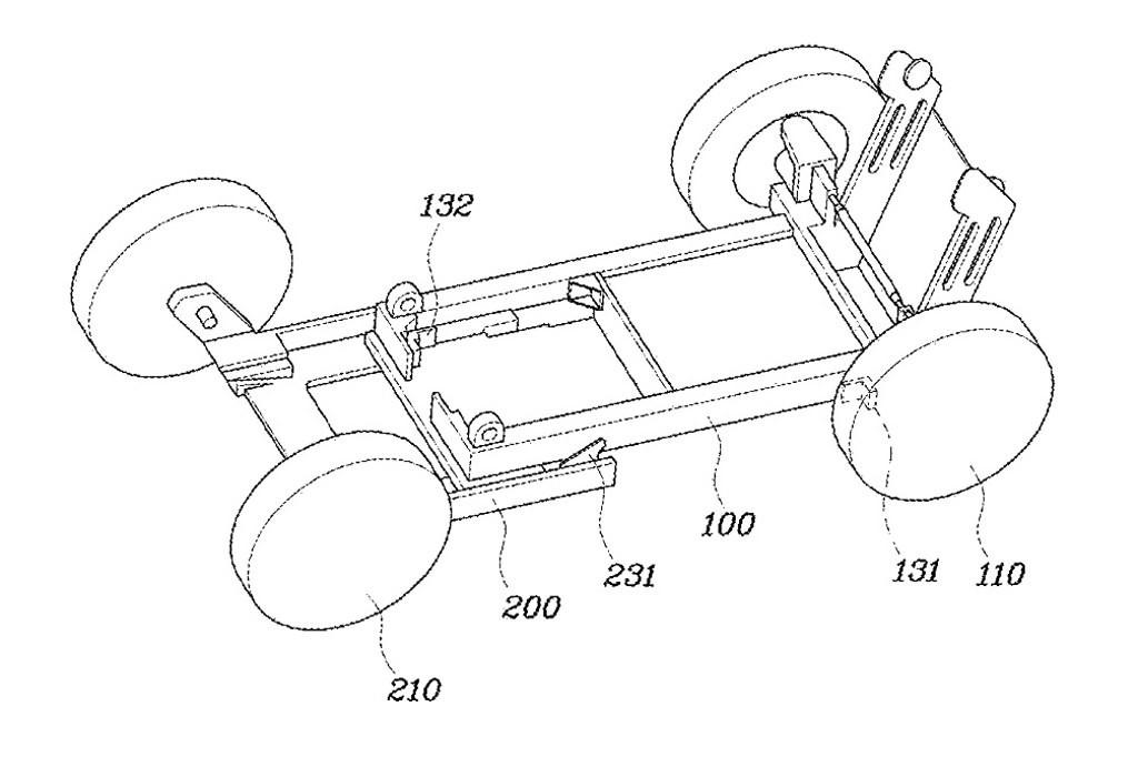
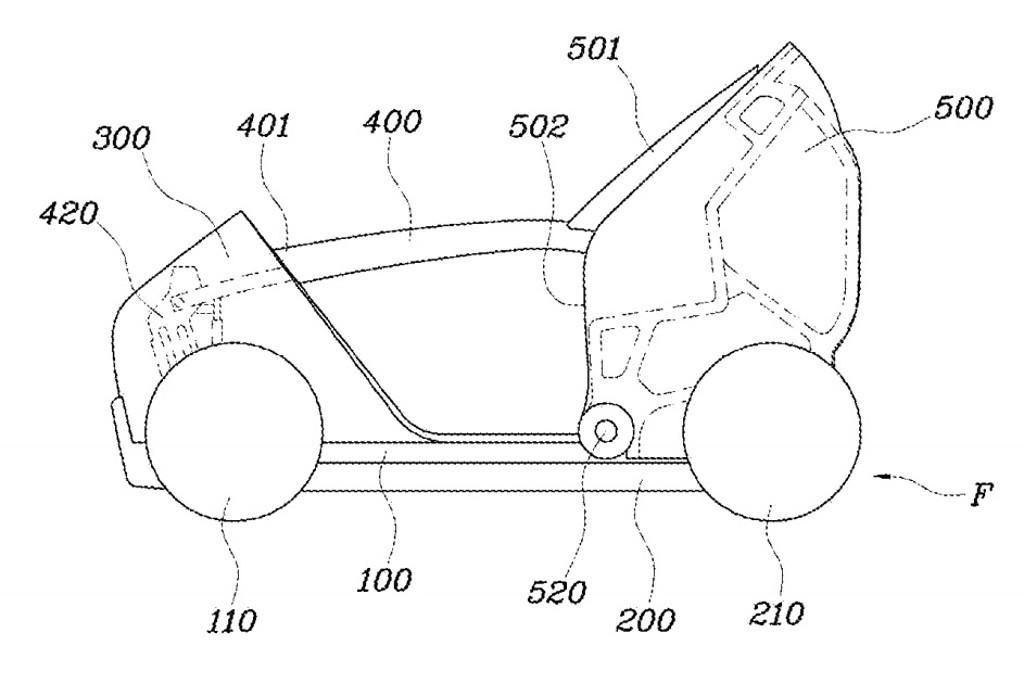
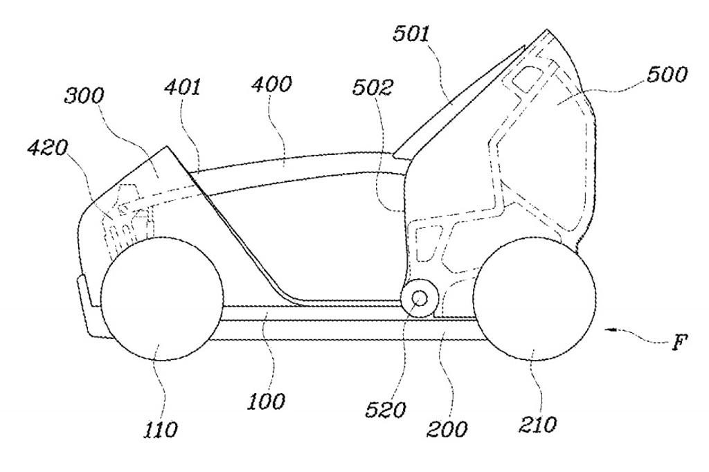
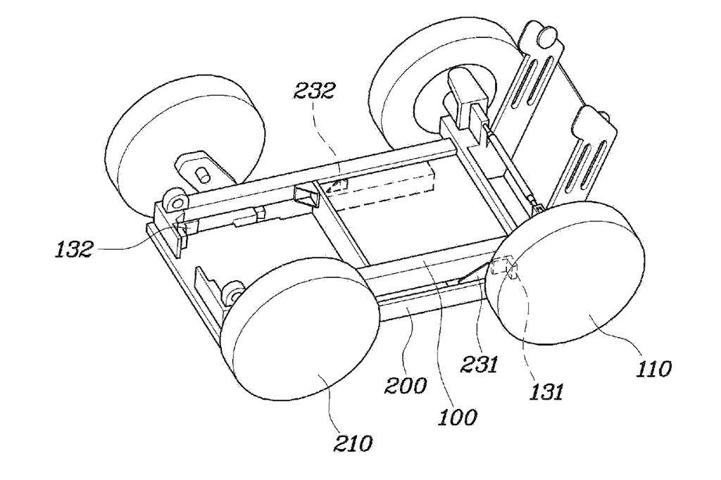
Do amerykańskiego urzędu patentowego zgłoszony został już nawet wniosek o ochronę takiego wynalazku. Załączone szkice pokazują, na czym miałby polegać fenomen tego Hyundaia. Przede wszystkim płyta podłogowa byłaby podzielona na dwie części, połączone wprawdzie, ale umożliwiające regulację rozstawu osi. Przednia część nadwozia razem z czołową szybą byłaby połączona z przednią częścią płyty podłogowej na zasadzie zawiasów, co umożliwiałoby łatwe i szybkie opuszczanie bądź podnoszenie tego elementu karoserii. Z analogicznym rozwiązaniem mielibyśmy do czynienia w tylnej części pojazdu. Tu również ruchoma część nadwozia mogłaby być opuszczana i podnoszona. Kiedy przód i tył karoserii byłyby opuszczone, wówczas część dachową chowałoby się wewnątrz auta.
Dobrze ideę, jaka przyświecała pomysłodawcom, widać na załączonych szkicach. Z pewnością byłoby to niezwykle nowatorskie rozwiązanie w motoryzacji, nie jesteśmy jednak do końca przekonani, iż zdałoby ono egzamin. Wersji produkcyjnej tego składaka możemy się więc nie doczekać, co jednak nie oznacza, iż nie powstanie za jakiś czas choćby model koncepcyjny, który będzie posiadał zawarte w patencie rozwiązania.