Szukaj

Dane techniczne Hyundai Sonata IV Sedan Facelifting – wybierz silnik

Pokaż silniki:

Szczegóły nadwozia

Podstawowe parametry

Liczba drzwi
4
Liczba miejsc
5
Średnica zawracania
12.0 m
Promień skrętu
6.0 m

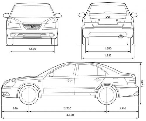
Wymiary zewnętrzne

Długość
4800 mm
Szerokość
1832 mm
Wysokość
1475 mm
Rozstaw osi
2730 mm
Rozstaw kół - przód
1565 mm
Rozstaw kół - tył
1550 mm
Zwis przedni
960 mm
Zwis tylny
1110 mm
Szkic techniczny
Szkic techniczny Hyundai Sonata IV Sedan Facelifting

Szczegóły silnika

Elektromobilność to obecnie jeden z głównych nurtów w rozwoju motoryzacji. Nic więc dziwnego, że praktycznie każdy z producentów chce mieć w swojej ofercie samochód elektryczny, a na rynku obserwujemy boom na elektryki.

Postanowiliśmy zatem przygotować specjalny dział poświęcony autom elektrycznym. Znajdziecie w nim informacje o zasięgach, ładowaniu i pojemnościach baterii, nasze testy samochodów elektrycznych, ciekawostki o nowych modelach aut na prąd, dopłatach do ich zakupu i nowych przepisach.
Hyundai Sonata IV Sedan Facelifting
Porównaj parametry
Hyundai Sonata IV Sedan Facelifting
Wybierz auta, które Cię interesują i sprawdź, jak różnią się ich parametry. Porównaj wymiary zewnętrzne, rozstaw osi, prześwit. Dowiedz się, ile miejsca jest wewnątrz i jak pojemny jest bagażnik. Możesz sprawdzić również parametry silnika i jego osiągi, rodzaj zawieszenia, napędu, hamulców, a nawet wymiary opon.
Chcesz sprawdzić, które auto w klasie średniej ma najniższe spalanie? A może jaki model w segmencie B ma największy prześwit? Albo który samochód sportowy najszybciej przyspiesza? Nasz ranking danych technicznych dostarczy Ci wszystkich potrzebnych informacji.

Dowiesz się, czy samochód, który wybrałeś, jest lepszy niż modele w ofercie konkurencji. Przekonasz się, czy w Twoim aucie jest więcej miejsca wewnątrz niż w innych samochodach z tego samego segmentu. Zobaczysz też, na którym miejscu w rankingu spalania jest model, który zamierasz kupić.
Hyundai Sonata IV Sedan Facelifting
Hyundai Sonata IV Sedan Facelifting

Skonfiguruj idealną ofertę z super finansowaniem

Zobacz więcej filmów