AutoCentrum.pl
Niezależny portal motoryzacyjny
Szukaj
Auta
Dopasuj auto
Ceny aut nowych
Ceny aut używanych
Ogłoszenia
Rankingi
Wideotesty
Dane techniczne
Opinie
Oceń swoje auto
Zużycie paliwa
Usterki
Paliwa
Stacje paliw
Ceny paliw za granicą
Narzędzia
Dokumenty dla kierowcy
Sprawdź VIN
Kalkulatory
Dziennik kosztów
Taryfikator mandatów
Zaloguj się
Moje
AutoCentrum
Witaj,
Co nowego
Moje auta
Ulubione stacje paliw
Ustawienia konta
Wyloguj
Gorące tematy
Sprawdź VIN przed zakupem!
Ile
kosztuje Cię
auto?
Wyszukiwarka aut
Poznaj usterki przed zakupem
AutoCentrum
Newsy
Newsy Hyundai
Newsy Hyundai
RSS
Jakie nowości wprowadzają na rynek producenci? Które auta zaskoczą pod względem wizualnym i technicznym? I jakie zmiany szykują się w przepisach drogowych? U nas najświeższe informacje ze świata motoryzacji.
Szukaj
Kolejny Genesis. Czy Lexus i BMW mają się już bać?
Hyundai, a właściwie to już Genesis, coraz śmielej poczyna sobie w segmencie premium. Po wcześniejszym debiucie dwóch modeli na wystawie w Nowym...
Flagowy Genesis w przedłużonej wersji
Podczas gdy na wystawie w Genewie Europejczycy mogli po raz pierwszy na żywo zobaczyć topową limuzynę nowo wyodrębnionej ze struktur Hyundaia marki...
Hyundai Tucson z kolejnym dieslem w ofercie
Oferta rynkowa kompaktowego SUV-a Hyundaia powiększy się do sześciu wersji silnikowych. Już niebawem w cennikach Tucsona znajdzie się 1,7-litrowy...
3 x Hyundai Ioniq w Genewie
Hundai Ioniq w wersji hybrydowej zadebiutował na koreańskim rynku w marcu tego roku. Teraz koreański model wjeżdża do Europy i to od razu we...
Znamy ceny nowego Hyundaia Elantry
Choć w sprzedaży fizycznie pojawi się po europejskiej premierze podczas targów Motor Show 2016 w Poznaniu, już teraz dealerzy Hyundaia w Polsce...
Hyundai pracuje nad ... składanym autem
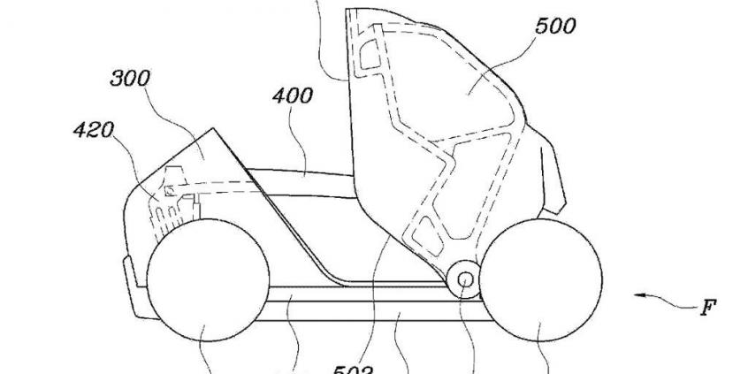
Dział badawczo-rozwojowy Hyundaia prowadzi intensywne prace nad składanym modelem. I nie chodzi tu wcale o dziecięcą zabawkę...
Pierwsze zdjęcia Hyundaia Ioniq
Po kilku opublikowanych teaserach Hyundai w końcu zaprezentował oficjalnie wygląd swojego najnowszego modelu wraz z pierwszymi szczegółami na temat...
Potrójnie ekologiczny Hyundai coraz bliżej
Hyundai powoli stopniuje napięcie przed przyszłorocznym debiutem swojego ekologicznego modelu. Dzięki dwóm opublikowanym szkicom wiemy, jak będzie...
Genesis G90 - oto segment premium wg Koreańczyków
Hyundai kuje żelazo póki gorące. Dopiero co ogłoszona została decyzja o wyodrębnieniu w strukturach koncernu luksusowej marki Genesis, a już możemy...
Hyundai Ioniq - takiego auta jeszcze nikt nie ma
Hyundai opublikował pierwszy teaser swojego najnowszego modelu, który będzie pierwszym na świecie autem, oferującym trzy rodzaje alternatywnego...
Hyundai Elantra - kontynuacja sukcesu?
Kompaktowy sedan Hyundaia to jeden z najlepiej sprzedających się samochodów na świecie. Czy następca utrzyma się na czele list sprzedaży? Pierwszy...
Hyundai Vision G Concept - nowoczesny klasyk
Na specjalnym pokazie w muzeum sztuki w Los Angeles Hyundai zaprezentował nowy samochód koncepcyjny. Teraz luksusowe coupe zmierza na konkurs...
Harley w tarapatach - 185 000 motocykli do ASO
Harley Davidson już po raz trzeci w ciągu zaledwie dwóch lat ogłasza gigantyczną akcję serwisową. Tym razem dotyczy ona aż 15 różnych modeli...
Hyundai Creta - mały SUV, wielkie ambicje
Indyjski oddział Hyundaia oficjalnie zaprezentował model Creta, który już nieco ponad 3 tygodnie trafi do sprzedaży. Założenia są ambitne, ale czy...
Hyundai na Poznań Motor Show 2015
Oczywiście Poznań Motor Show 2015 to nie tylko luksusowe auta z najwyższej półki, ale również przyziemne samochody. Takimi pochwalił się Hyundai,...
Hyundai i20 Active - małe auto w lekki teren
Miłośnicy wypadów za miasto, na grilla, nad wodę lub na zwykły piknik na działkę muszą być zachwyceni, gdyż oferta modelowa uterenowionych...
Hyundai Tucson - kolejny crossover na rynku
Kolejny dzień w Genewie i kolejna potężna porcja ciekawych premier oraz prezentacji. Tym razem zaczynamy z Hyundaiem Tucsonem, który po kilku...
Hyundai i20 Active dla Indii oraz (może) Europy
Odpocznijmy nieco od zamieszania wokół 85. Międzynarodowego Salonu Samochodowego w Genewie i zerknijmy, co się dzieje na innych rynkach np. w...
Hyundai Tucson - ciekawa nowość z Korei Płd.
Czasami producenci starają się nas zaskoczyć trzymając informacje na temat nowego modelu w tajemnicy. Podobnie zachował się Hyundai, który bez...
Hyundai Veloster Rally Edition debiutuje w Chicago
Zapewne już każdy z niecierpliwością czeka na Salon Samochodowy w Genewie, który wystartuje za nieco ponad 2 tygodnie, ale w międzyczasie warto...
Poprzednia
1
2
3
4
5
6
7
8
9
10
...
13
Następna
Hyundai
4,3 (5 284 oceny)
Wybierz model
Accent
Atos
Bayon
Coupe
Elantra
Equus
Excel
Galloper
Genesis
Genesis Coupe
Getz
Grand Santa Fe
Grandeur
H1
H100
H200
i10
i20
i30
i40
Inster
IONIQ
IONIQ 5
IONIQ 6
IONIQ 9
ix20
ix35
ix55
Kona
Lantra
Matrix
Nexo
Pony
Santa Fe
Santamo
Scoupe
Sonata
Starex
Staria
Stellar
Terracan
Tiburon
Trajet
Tucson
Veloster
XG
Kategorie
Kategorie newsów
Newsy
Newsy Live
Informacje prasowe
Hyundai
w pigułce
Hyundai
w pigułce
Informacje o marce
Katalog nowych
Hyundai
Dane techniczne
Hyundai
Raporty zużycia paliwa
Hyundai
Opinie
Hyundai
Usterki
Hyundai
Publikacje
Hyundai
Newsy
Hyundai
Galerie
Hyundai
Nasze pomiary
Hyundai
Filmy
Hyundai
Ogłoszenia
Hyundai
Ceny aut używanych
Hyundai
Dziennik kosztów
Hyundai
Opinie o instalacjach LPG
Hyundai
Testy zderzeniowe
Hyundai
Zobacz więcej
filmów
O firmie
Redakcja
Reklama
Regulamin
Kontakt
Mapa portalu
Wyszukiwarka aut
Dziennik kosztów
Rankingi aut
Wirtualny alkomat
Benzyna czy diesel?
Kalkulator LPG
Kredyt czy leasing?
Mapa stacji paliw
Sprawdź VIN
Oceń instalację LPG
Oceń motocykl
Porady
Publikacje
Pierwsza pomoc
Dokumenty dla kierowcy
Motosłownik
Za granicą
Prawo jazdy